Μια τεχνολογία που συνδυάζει ομαλότητα, επιδόσεις και αυξημένη αυτονομία, φέρνοντας τους οδηγούς πιο κοντά στην ιδανική εμπειρία οδήγησης. Στον κόσμο των plug-in υβριδικών οχημάτων, η τοποθέτηση των ηλεκτροκινητήρων αποτελεί διαχρονικό δίλημμα.
Όταν ο κινητήρας τοποθετείται πριν από το κιβώτιο ταχυτήτων, επωφελείται από τις αλλαγές σχέσεων, αλλά οι απότομες πτώσεις ισχύος κατά τη διάρκεια αυτών των αλλαγών γίνονται αισθητές. Αντίθετα, όταν βρίσκεται μετά το κιβώτιο, η οδήγηση γίνεται πιο ομαλή, όμως απαιτείται ισχυρότερος κινητήρας για να επιτευχθεί το ίδιο αποτέλεσμα. Η νέα προσέγγιση της Stellantis επιχειρεί να παντρέψει τα πλεονεκτήματα και των δύο διατάξεων, εξαλείφοντας τις αδυναμίες τους.
Η πατέντα που υπόσχεται την τέλεια ισορροπία
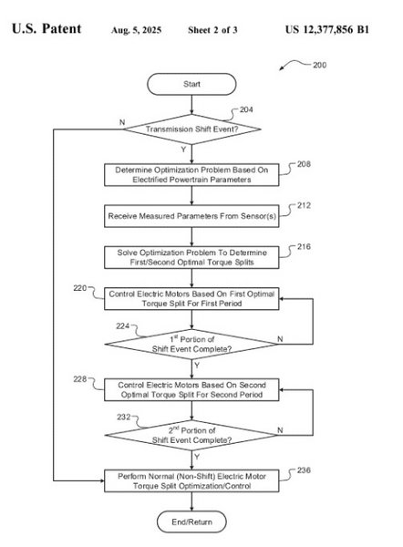
Η νέα πατέντα που εκδόθηκε στις 5 Αυγούστου, περιγράφει έναν εξελιγμένο τρόπο διαχείρισης συστημάτων με κινητήρες τόσο πριν, όσο και μετά το κιβώτιο ταχυτήτων. Η καρδιά της τεχνολογίας είναι ένας «έξυπνος ελεγκτής», ο οποίος λαμβάνει δεδομένα από αισθητήρες σε πραγματικό χρόνο και υπολογίζει την ιδανική κατανομή ροπής ανάμεσα στους δύο κινητήρες. Σήμερα, σε αντίστοιχες διατάξεις, η μεταφορά ροπής στον ηλεκτροκινητήρα μετά το κιβώτιο γίνεται απότομα, είτε λίγο πριν είτε αμέσως μετά την αλλαγή σχέσης. Το αποτέλεσμα; Απώλειες ενέργειας από θερμότητα, φθορές και ανεπιθύμητες μεταβολές στην απόδοση.
Πώς λειτουργεί το σύστημα
Η πρόταση της Stellantis προβλέπει ότι, ανάλογα με το σενάριο οδήγησης, η ροπή μπορεί να μεταφέρεται σταδιακά στον πίσω ηλεκτροκινητήρα για ομαλές αλλαγές ή πιο απότομα όταν η κατάσταση το απαιτεί. Σε ορισμένες περιπτώσεις, ο εμπρός ηλεκτροκινητήρας συνεχίζει να παρέχει μέρος της ισχύος ακόμη και κατά τη διάρκεια της αλλαγής σχέσης, πιθανότατα για να διατηρείται η αίσθηση αδιάλειπτης επιτάχυνσης. Μόλις ολοκληρωθεί η αλλαγή ταχύτητας, το σύστημα επαναϋπολογίζει άμεσα την βέλτιστη κατανομή και επιστρέφει στην πιο αποδοτική λειτουργία.
Τα οφέλη για τον οδηγό και την αυτονομία
Παρότι η λειτουργία του συστήματος είναι πιθανό να περνά απαρατήρητη από τον μέσο οδηγό, τα οφέλη είναι ουσιαστικά και περιλαμβάνουν: πιο ομαλές αλλαγές ταχυτήτων χωρίς απότομες μεταβολές ισχύος, αυξημένη ενεργειακή απόδοση χάρη στη μείωση των απωλειών και της καταπόνησης των μηχανικών μερών, αλλά και μεγαλύτερη αυτονομία όταν το όχημα κινείται σε EV mode, αξιοποιώντας βέλτιστα την μπαταρία.
Στην πράξη, αυτό σημαίνει ότι οι οδηγοί θα απολαμβάνουν όχι μόνο μεγαλύτερη άνεση, αλλά και χαμηλότερη κατανάλωση ενέργειας.
ΔΙΑΒΑΣΤΕ ΕΠΙΣΗΣ:
Επένδυση «μαμούθ» της Stellantis στο Μαρόκο - Γιατί προτιμά την αφρικανική χώρα
Stellantis: Ο Filosa ανέλαβε CEO και αλλάζει τα πάντα - Τα πρόσωπα που αποχωρούν





ΔΗΜΟΦΙΛΗ





_77761_473036_type13129.jpg)