Η Ford ετοιμάζεται να αυξήσει ακόμη περισσότερο την ασφάλεια των οχημάτων της, καταθέτοντας τα απαραίτητα έγγραφα για την κατοχύρωση μιας νέας πατέντας, η οποία αν και αρκετά απλή, πρόκειται να φανεί ιδιαίτερα χρήσιμη και σωτήρια σε πολλές περιπτώσεις.
Η εν λόγω πατέντα ήρθε στο φως της δημοσιότητας μέσω του Γραφείου Πατεντών και Πνευματικών Δικαιωμάτων των ΗΠΑ (USPTO) και αφορά ένα νέο αλεξήλιο που μπορεί να χρησιμοποιηθεί και για να σπάσει κάποιο τζάμι προκειμένου να απεγκλωβιστούν οι επιβάτες.
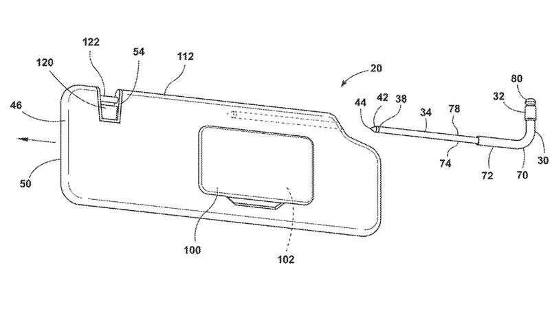
Εκ πρώτης όψεως, φαίνεται ότι είναι ένα συμβατικό σκιάδιο, σαν αυτό που θα έβρισκε κανείς σε οποιοδήποτε αυτοκίνητο. Είναι στερεωμένο σε μια μικρή μεταλλική ράβδο, η οποία επιτρέπει στον οδηγό και τον συνοδηγό να το κατεβάζουν και να το ανεβάζουν, ως είθισται.
Η καινοτομία βρίσκεται στο γεγονός ότι το σκιάδιο μπορεί να αφαιρεθεί από τη ράβδο πάνω στην οποία βρίσκεται, αποκαλύπτοντας μια μυτερή άκρη ή όπως ακριβώς περιγράφεται στο επίσημο έγγραφο, «σημείο πρόσκρουσης». Η ράβδος αφαιρείται επίσης από την οροφή του οχήματος, επιτρέποντας στους επιβάτες να τη χρησιμοποιήσουν για να σπάσουν ένα τζάμι.
Αυτό που δεν αναγράφεται στην πατέντα είναι το μέγεθος της ράβδου, όμως αναφέρεται ότι έχει σχήμα 'L', κάνοντας τη χρήση της ευκολότερη. Πρόκειται για μια αρκετά απλή ιδέα, η οποία θα μπορούσε να σώσει αρκετές ζωές. Το αν θα καταφέρει να περάσει στην παραγωγή είναι μια εντελώς διαφορετική κουβέντα, αφού πολλές -αν όχι οι περισσότερες- πατέντες δε φτάνουν ποτέ σε υλοποίηση, όμως δεν παύει να φαντάζει ως μια πολύ χρήσιμη εφεύρεση.






ΔΗΜΟΦΙΛΗ




_77761_475782_type13129.jpg)
