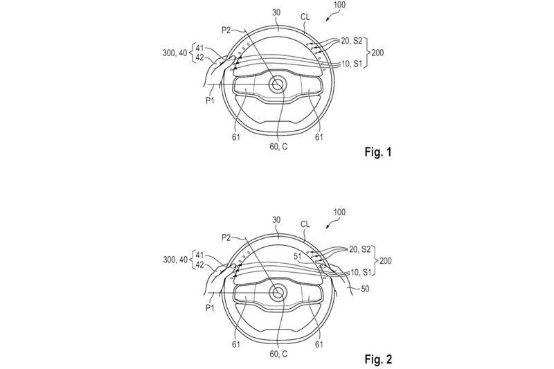
Μια εντελώς νέα φιλοσοφία ετοιμάζεται να εφαρμόσει η Volkswagen στα τιμόνια των μοντέλων της σύμφωνα με σχέδια πατέντας που διέρρευσαν στο διαδίκτυο. Η αίτηση για την κατοχύρωση της ευρεσιτεχνίας έγινε στο Γερμανικό Γραφείο Πατεντών και Πνευματικών Δικαιωμάτων (DPMA) και οι εικόνες αποκαλύπτουν την πρόθεση της VW να καταργήσει τους μοχλούς που βρίσκονται πάνω στην κολώνα του τιμονιού και να τους ενσωματώσει με κουμπιά σε αυτό!
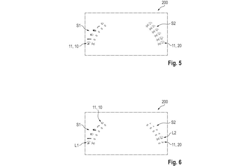
Στο νέο, επαναστατικό τιμόνι που σχεδιάζουν τα χειριστήρια θα βρίσκονται στο εσωτερικό της στεφάνης και σύμφωνα με την εταιρεία, θα μπορούσαν να είναι φυσικοί διακόπτες, αφής ή κάποιος συνδυασμός και των δύο. Το σύστημα αποτελείται από δύο συμπλέγματα χειριστηρίων, ένα στη δεξιά κι ένα στην αριστερή μεριά. Αυτό στα αριστερά αποτελείται από τα βασικά χειριστήρια, ενώ δεξιά έχουν τοποθετηθεί τα δευτερεύοντα.
Η λειτουργία του συστήματος απαιτεί ταυτόχρονο χειρισμό και των δύο σετ, όμως η διαδικασία είναι πολύ πιο απλή απ' όσο ακούγεται και έχει αρκετά κοινά με τον χειρισμό του συστήματος ενημερωδιασκέδασης από τα πλήκτα του τιμονιού.
Το νέο αυτό σύστημα είναι πρωτοποριακό ως προς την ασφάλεια, αφού ο οδηγός δε χρειάζεται να απομακρύνει τα χέρια του από το τιμόνι, προκειμένου να κάνει οποιαδήποτε αλλαγή ή ρύθμιση. Εκτός αυτού, επιτρέπει στους σχεδιαστές της γερμανικής αυτοκινητοβιομηχανίας να δημιουργήσουν πιο ελεύθερα, χωρίς τους μοχλούς στην κολώνα του τιμονιού, με στόχο το καλύτερο δυνατό αποτέλεσμα για τον οδηγό.





ΔΗΜΟΦΙΛΗ



_77761_475679_type13129.jpg)

