Το τούρμπο αποτελεί αναπόσπαστο μέρος μιας ΜΕΚ από το 1878, όταν ο Σκωτσέζος μηχανικός Dugald Clerk ενσωμάτωσε το σύστημα στους κινητήρες. Μία κατασκευή που φυσικά απέχει πολύ από τα σημερινά. Στην εποχή μας, είναι ένα ευρέως διαδεδομένο μέσο για την αύξηση της απόδοσης ενός κινητήρα.
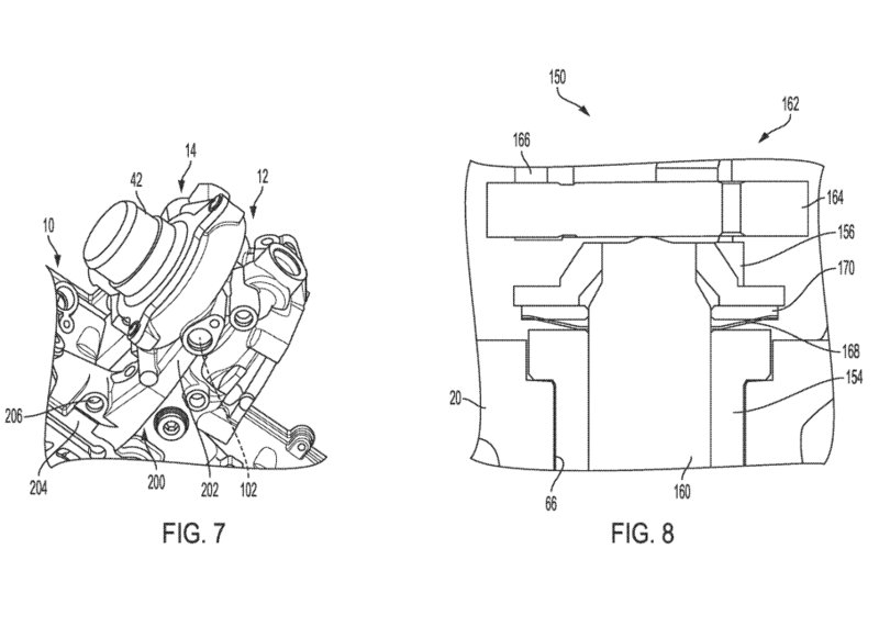
Τώρα, το αμερικανικό CarBuzz ανακάλυψε μία νέα πατέντα της FCA (Fiat Chrysler Automotive), μέσω της ιστοσελίδας του Γραφείου Πατεντών και Πνευματικών Δικαιωμάτων των ΗΠΑ, η οποία δείχνει ένα ενιαίο σύστημα turbo που είναι ενσωματωμένο στην κεφαλή των κυλίνδρων.
Γιατί να όμως να προχωρήσει μία τέτοια κίνηση; Η απάντηση είναι απλή. Τα συστήματα turbo που κυκλοφορούν αυτή τη στιγμή στην αγορά, μπορεί να βοηθούν τον εκάστοτε κατασκευαστή να αυξήσει την ιπποδύναμη ενός κινητήρα μικρών κυβικών, όμως προσθέτουν βάρος και κάνουν την κατασκευή ιδιαίτερα περίπλοκη. Γι' αυτόν τον λόγο, η Stellantis θέλει να μειώσει το βάρος του συστήματος, ενσωματώνοντάς το στην κυλινδροκεφαλή.
Μία τέτοια πατέντα θα εξάλειφε την πολλαπλή εισαγωγής που ήταν μέχρι τώρα απαραίτητη για τη λειτουργία του turbo, αλλά και τις αναγκαίες φλάντζες και βίδες που κρατούσαν την κατασκευή στη θέση της. Οι εγκοπές για τον συμπιεστή και την τουρμπίνα είναι ενσωματωμένες εξ ολοκλήρου στην κεφαλή, με το σώμα και τους τροχούς να προστίθενται κατά τη συναρμολόγηση.
Το λάδι τροφοδοτεί το turbo χωρίς ανακατεύθυνση, κάτι το οποίο μειώνει επίσης τη χρήση πρώτων υλών. Εκτός αυτού, η μείωση στις φλάντζες και στις βίδες ενδέχεται να προσφέρει μεγαλύτερα επίπεδα αξιοπιστίας, χωρίς όμως αυτό να έχει επιβεβαιωθεί μέχρι σήμερα από κάποια δοκιμή.
Τέλος, ένα προστατευτικό θερμότητας έχει τοποθετηθεί, με τη διαχείριση της θερμοκρασίας να παίζει σημαντικό ρόλο στην καλή λειτουργία του ενιαίου αυτού συστήματος.





ΔΗΜΟΦΙΛΗ





