Η Ford καινοτομεί και υιοθετεί μία πρωτοποριακή ιδέα, όσον αφορά στην καμπίνα των μελλοντικών της οχημάτων, η οποία θέλει τους αερόσακους να βρίσκονται στην οροφή τους. Η αίτηση για το πατεντάρισμα της εν λόγω ιδέας έγινε στο Γραφείο Ευρεσιτεχνιών των ΗΠΑ, στις 7 Απριλίου 2021, αλλά δημοσιεύτηκε στις 13 Οκτωβρίου 2022.
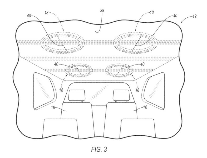
Σύμφωνα με τα σχέδια που βγήκαν στο φως, εμφανίζονται σημεία στα οποία εδράζονται οι αερόσακοι σε κυκλική μορφή, αν και η έννοια «αερόσακος» μάλλον χρησιμοποιείται με την ευρεία σημασία του.
Κι αυτό, γιατί αντί να μιλάμε για συμβατικού τύπου αερόσακους, στα σχέδια φαίνεται μία κατασκευή που θα περιβάλλει τους επιβάτες με κυλινδρικούς «αερόσακους», που θα φουσκώνουν και θα προστατεύουν σε τυχόν ατυχήματα, όπως και οι κανονικοί, γνωστοί αερόσακοι.
Κατά τη Ford, αυτή η τεχνολογία είχε σχεδιαστεί για να δουλεύει τόσο σε επιβατικά, όσο και σε φορτηγά οχήματα, διαφορετικών τύπων και μεγεθών, όπως σεντάν, κουπέ, pick-ups, SUV και minivans.
Φυσικά, ο σχεδιασμός των εν λόγω αερόσακων έγινε και με τα αυτόνομα οχήματα κατά νου, με δεδομένο ότι σε κάποια εκ των σχεδίων, εμφανίζεται ένα όχημα του οποίου οι επιβάτες κάθονται αντικριστά.
Κι ενώ η προσπάθεια της Ford προς την αυτόνομη οδήγηση έχει φθίνει μετά και την απόσυρση της επένδυσής της στην εταιρεία τεχνολογιών αυτόνομης οδήγησης Argo AI, οι Αμερικανοί συνεχίζουν να πειραματίζονται με την ασφάλεια και την τεχνολογία γύρω από αυτήν στα συμβατικά τους οχήματα.
Πρέπει, πάντως, να τονιστεί πως η κατάθεση αιτήματος για πατέντα δε συνιστά και ένδειξη θέλησης της εταιρείας να βάλει την πατέντα της στην αγορά. Επομένως, δε γνωρίζει κανείς ακόμα αν θα περάσει ποτέ αυτό στα επιβατικά της οχήματα.






ΔΗΜΟΦΙΛΗ


_77761_475782_type13129.jpg)

