Οι αυτοκινητοβιομηχανίες ψάχνουν τρόπους να κάνουν την ηλεκτροκίνηση πιο ελκυστική και να τη βγάλει τα στεγανά της οικονομικής και οικολογικής επιλογής κινητικότητας.
Σε αυτό το πλαίσιο, η Stellantis έχει οραματιστεί και σχεδιάσει ένα σύστημα μετάδοσης της κίνησης στα EV της που θα τα καθιστά ικανά για οδήγηση σε δύσκολα τερραίν, εκτός δρόμου.
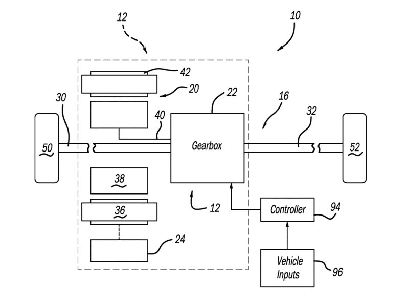
Στην πατέντα που κατετέθη στο Γραφείο Ευρεσιτεχνιών και Εμπορικών Σημάτων των Ηνωμένων Πολιτειών (USPTO), ο όμιλος προβλέπει την κατασκευή και χρήση ενός κιβωτίου τριών ταχυτήτων κοντών και πιο μεγάλων σχέσεων που θα περιμένε κανείς να βρει σε ένα μοντέλο της Jeep.
Ως γνωστόν, τα περισσότερα ηλεκτρικά οχήματα φέρουν κιβώτιο ταχυτήτων μίας σχέσης, όμως η Stellantis σημειώνει ότι «δεν είναι σε θέση να παρέχει συνεχή υψηλή ροπή για οδήγηση σε μονοπάτια και ερήμους ή σε διάφορες άλλες συνθήκες».
Με αυτό το νέο κιβώτιο, τα EV θα μπορούσαν να λειτουργούν πιο αποδοτικά σε μία σειρά επιφανειών, από χώμα και λάσπη μέχρι χιόνι και πάγο, ενώ σύμφωνα με την εταιρεία το συγκεκριμένο κιβώτιο μπορεί να μεταδώσει την ισχύ τόσο στον εμπρός όσο και στον πίσω άξονα, όπως και στους δύο ταυτόχρονα.
Η πρώτη σχέση προσφέρει τη μέγιστη ροπή για δύσκολες επιφάνειες, η δεύτερη είναι κατάλληλη για χρήση στον αστικό ιστό αλλά και στον αυτοκινητόδρομο σε χαμηλές και μέσες ταχύτητες, ενώ η τρίτη προορίζεται για υψηλές ταχύτητες σε ανοιχτούς δρόμους.
Το ενδιαφέρον είναι πως η πατέντα είχε κατατεθεί από τον Οκτώβριο του 2023, όμως έγινε δεκτή και πέρασε στο σύστημα του Γραφείου τώρα, περίπου 2 χρόνια μετά, οπότε τώρα αναμένεται να φανεί σε ποια μοντέλα θα χρησιμοποιηθεί.
ΔΙΑΒΑΣΤΕ ΕΠΙΣΗΣ:
Stellantis: Οι «καυτές πατάτες» που παίρνει στα χέρια ο νέος CEO
Alfa Romeo και Maserati ενώνουν δυνάμεις – Έρχεται νέα γενιά ισχυρών αυτοκινήτων!





ΔΗΜΟΦΙΛΗ



_77761_472761_type13129.jpg)

