Η Porsche ετοιμάζει κάτι που πιθανώς θα αλλάξει τα δεδομένα στον χώρο της αυτοκίνησης. Οι Γερμανοί κατοχύρωσαν πατέντα για έναν εξάχρονο κινητήρα εσωτερικής καύσης, πηγαίνοντας κόντρα στους τετράχρονους κινητήρες που βρίσκουμε στα περισσότερα αυτοκίνητα που κυκλοφορούν στην αγορά.
Παραδοσιακά, οι τέσσερις φάσεις του κύκλου μιας τετράχρονης ΜΕΚ καθορίζονται με κάθε κίνηση του εμβόλου μέσα στον κύλινδρο η οποία χρειάζεται δυο περιστροφές του στρόφαλου για να ολοκληρωθεί (μια περιστροφή αντίστοιχα για τους δίχρονους κινητήρες).
Ο κύκλος ξεκινά με την εισαγωγή του καυσίμου (μείγμα αέρα και βενζίνης) στο θάλαμο καύσης, το οποίο στη συνέχεια συμπιέζεται με τη βοήθεια του πιστονιού, ακολουθεί η ανάφλεξη (καύση) μέσω του σπινθήρα από τα μπουζί και τέλος η εξαγωγή των καυσαερίων, δηλαδή τα κατάλοιπα της καύσης που παραμένουν μέσα στο θάλαμο, όταν αυτή ολοκληρωθεί.
Αυτό που θέλουν να κάνουν οι Γερμανοί είναι να προσθέσουν δύο επιπλέον φάσεις σε αυτόν τον κύκλο, δηλαδή ακόμη μια συμπίεση και ανάφλεξη. Σύμφωνα με το έγγραφο της πατέντας, που υπεβλήθη μέσω της Υπηρεσίας Πατεντών και Πνευματικών Δικαιωμάτων των ΗΠΑ (USPTO), οι έξι χρόνοι του κύκλου χωρίζονται σε δύο τρίχρονες ακολουθίες.
Οι επιπλέον φάσεις στον κινητήρα της Porsche προστίθενται ανάμεσα στα στάδια της συμπίεσης και της εξαγωγής. Οι δύο τρίχρονες ακολουθίες θα ήταν, λοιπόν, εισαγωγή-συμπίεση-ανάφλεξη και συμπίεση-ανάφλεξη-εξαγωγή.
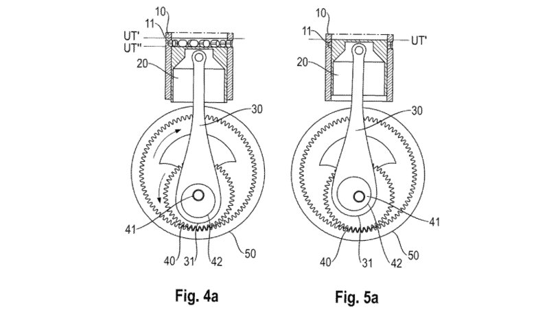
Προκειμένου να επιτευχθεί αυτό, η Porsche έχει σχεδιάσει έναν στρόφαλο που περιστρέφεται πάνω σε έναν δακτύλιο με δύο ομόκεντρους κύκλους, αλλάζοντας ουσιαστικά το κέντρο περιστροφής του, το οποίο με τη σειρά του μειώνει την διαδρομή που χρειάζεται το πιστόνι να φτάσει στο κάτω νεκρό σημείο του θαλάμου καύσης.
Λόγω αυτής της μεταβαλλόμενης απόστασης περιστροφής του στροφάλου μεταβάλλεται παράλληλα και η συμπίεση του κινητήρα, με τον μοτέρ να έχει πλέον δύο διαφορετικά κάτω κι άνω νεκρά σημεία.
Μπορεί το συγκεκριμένο σχέδιο να αυξάνει την πολυπλοκότητα της λειτουργίας, όμως ταυτόχρονα ο κινητήρας μπορεί να δώσει περισσότερη ισχύ με μεγαλύτερη αποδοτικότητα. Σε μια τετράχρονη ΜΕΚ, μόνο μία από τις τρεις κινήσεις του εμβόλου παράγει ενέργεια, ενώ στον εξάχρονο κινητήρα της Porsche, ενέργεια παράγει μία στις τρεις κινήσεις.
ΔΙΑΒΑΣΤΕ ΕΠΙΣΗΣ:
Porsche 911 Hybrid: Τα 10 μοντέλα που «τρώνε τη σκόνη της» στο Nurburgring
H πιο γρήγορη Porsche όλων των εποχών – Ρεκόρ γύρου σε Laguca Seca και Nurburgring (photos-video)
Πρεμιέρα για την κορυφαία Porsche Panamera Turbo S E-Hybrid των 782 PS (photos-τιμές)





ΔΗΜΟΦΙΛΗ



_77761_475679_type13129.jpg)

