Ένας από τους βασικότερους προβληματισμούς για την πραγματοποίηση ταξιδιού με ηλεκτρικό αυτοκίνητο είναι η αυτονομία του. Όσο μεγαλώνει η απόσταση, ενδέχεται μία πλήρως φορτισμένη μπαταρία να μην προσφέρει τα απαιτούμενα χιλιόμετρα κίνησης για την άφιξη στον προορισμό.
Οι σταθμοί φόρτισης σε αυτοκινητόδρομους είναι, ασφαλώς, μία λύση, ωστόσο η συχνότητά τους είναι περιορισμένη, ενώ υπάρχουν και πολλές διαδρομές στις οποίες απουσιάζουν εντελώς.
Ωστόσο, η Ford έρχεται να δώσει λύσει και να διώξει το άγχος. Κατέθεσε αίτηση κατοχύρωσης διπλώματος ευρεσιτεχνίας για τοποθέτηση εφεδρικής μπαταρίας στην οροφή των EV.
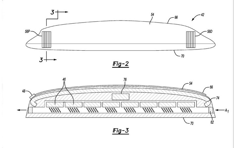
Η πατέντα κατατέθηκε στις 8 Δεκεμβρίου 2021 στο Γραφείο Διπλωμάτων Ευρεσιτεχνίας και Εμπορικών Σημάτων των Ηνωμένων Πολιτείων («United States Patent and Trademark Office») και δημοσιεύτηκε πριν από λίγες ώρες (8 Ιουνίου 2023). Σε αυτή παρουσιάζεται ένα SUV - οι αναλογίες του μοιάζουν αρκετά με αυτές του Bronco - που διαθέτει μπαγκαζιέρα οροφής.
Ωστόσο δεν πρόκειται για μια «τυπική» μπαγκαζιέρα, καθώς από το πίσω μέρος της βγαίνει ένα καλώδιο φόρτισης, το οποίο θα καταλήγει στη θύρα φόρτισης του EV. «Το συγκρότημα εφεδρικής μπαταρίας περιλαμβάνει μια πληθώρα μονάδων μπαταρίας και μια θύρα σύνδεσης και έχει διαμορφωθεί με τέτοιο τρόπο ώστε να επαναφορτίζει τη βασική μπαταρία του οχήματος μέσω της θύρας φόρτισής του», αναφέρει χαρακτηριστικά η πατέντα.
Αξίζει να σημειωθεί ότι το συγκρότημα εφεδρικών μπαταριών οροφής είναι αποσπώμενο. Μπορεί να τοποθετηθεί εν όψει ενός ταξιδιού και να αφαιρεθεί όταν το όχημα φτάσει στον προορισμό του και θα είναι εφικτή η φόρτιση της βασικής μπαταρίας με τους «παραδοσιακούς» τρόπους που ισχύουν για τα EV.
Η Ford προβλέπει την ύπαρξη αεραγωγών και στις δύο πλευρές του «κουτιού» οροφής που περιλαμβάνει την εφεδρική μπαταρία, προκειμένου να εξασφαλίζεται η ψύξη των κυψελών. Επιπλέον, είναι εφικτή η τοποθέτηση τηλεχειριζόμενων βαλβίδων προκειμένου οι αεραγωγοί να κλείνουν σε περίπτωση βροχής, αμμοθύελλας, υπερβολικού κρύου και γενικότερα κακών καιρικών συνθηκών που θα μπορούσαν να καταστρέψουν την εφεδρική μπαταρία ή να προκαλέσουν οποιοδήποτε θέμα ασφάλειας.
Στη συσκευασία υπάρχει επένδυση από αφρό πολυουρεθάνης, για τον έλεγχο των επιπέδων θερμικής ενέργειας μέσα στο κουτί και να μπορέσει να διατηρηθεί η επιθυμητή θερμοκρασία για την εφεδρική μπαταρία. Η Ford επισημαίνει ότι η φόρτισή της γίνεται με τον ίδιο τρόπο που φορτίζεται η βασική μπαταρία του EV, μέσω του διαθέσιμου καλωδίου.
Σύμφωνα με την εταιρεία, στο σχεδιασμό υπάρχει πρόβλεψη για τοποθέτηση μονάδας ελέγχου στην εφεδρική μπαταρία η οποία θα επικοινωνεί ασύρματα με αντίστοιχη μονάδα του EV, μέσω της οποίας θα ελέγχεται το επίπεδο φόρτισης της βασικής μπαταρίας του οχήματος.





ΔΗΜΟΦΙΛΗ



_77761_475782_type13129.jpg)
