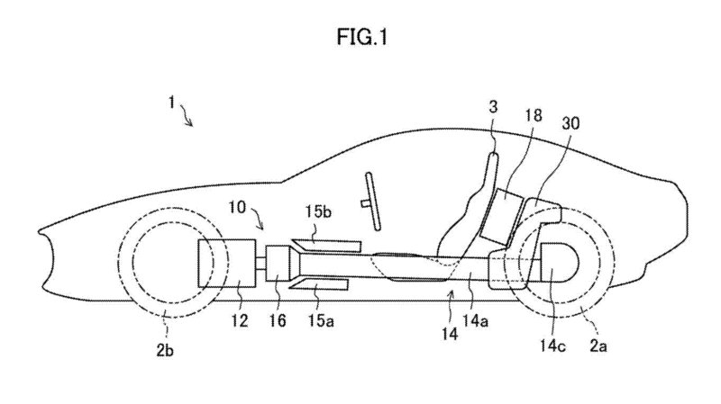
Η Mazda φαίνεται πως προετοιμάζεται για κάποια «εντυπωσιακή» αποκάλυψη, αν κρίνει κανείς από την πατέντα που έκανε την εμφάνισή της στο Γραφείο Πατεντών και Πνευματικών Δικαιωμάτων των ΗΠΑ. Σε αυτή παρουσιάζεται ένα υβριδικό κινητήριο σύνολο, αποτελούμενο από ένα περιστροφικό κινητήρα Wankel και τρία ηλεκτρικά μοτέρ, που τροφοδοτούν ένα σπορ αυτοκίνητο.
Η εν λόγω πατέντα κατατέθηκε τον Ιούνιο του 2021, αλλά δημοσιεύθηκε μόλις πριν από λίγες μέρες. Στο έγγραφο δεν αναφέρονται πολλές πληροφορίες για τον κινητήρα Wankel, αλλά ξεκαθαρίζεται πως θα τοποθετηθεί στο εμπρός μέρος του οχήματος.
Όσον αφορά τη δομή του υβριδικού συνόλου, είναι αξιοσημείωτο ότι περιλαμβάνει δύο διαφορετικά είδη ηλεκτροκινητήρα: Δύο ασύγχρονα ηλεκτρικά μοτέρ (23 PS έκαστο) για τους εμπρός τροχούς, και έναν ηλεκτροκινητήρα μόνιμου μαγνήτη, τοποθετημένο πίσω από τη ΜΕΚ, απόδοσης 36 PS. Με αυτό τον τρόπο, το όχημα θα έχει κίνηση σε όλους τους τροχούς.
Όπως αναφέρει και το σχετικό δημοσίευμα του The Drive, αυτοί οι δύο διαφορετικοί τύποι ηλεκτροκινητήρα προσφέρουν τη ροπή με διαφορετικούς τρόπους, οπότε πιθανώς έτσι να επιτυγχάνεται πιο ομαλή καμπύλη ροπής.
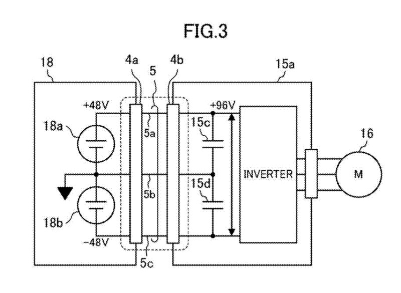
Και η μπαταρία έχει ενδιαφέρον σε επίπεδο τεχνολογίας. Η Mazda προκρίνει μία λύση με σύστημα μεταβαλλόμενης τάσης, που χρησιμοποιεί τέσσερις ανεξάρτητες μπαταρίες 48 V σε ένα πακέτο μπαταριών. Σε καταστάσεις χαμηλών απαιτήσεων, το σύστημα λειτουργεί στα 48 V (σε λογική mild hybrid), αλλά όταν αυξάνονται οι απαιτήσεις, τότε οι μπαταρίες δουλεύουν ανά δυάδες (96 V) προσφέροντας τη δυνατότητα για μεγαλύτερη ισχύ με λιγότερα συστήματα υψηλής τάσης.
Σύμφωνα με τα στοιχεία της πατέντας, αυτός ο σχεδιασμός έχει μειωμένο βάρος, γεγονός αρκετά σημαντικό για ένα σπορ μοντέλο που στοχεύει στις καλές επιδόσεις.
Ο κινητήρας Wankel επέστρεψε στη γκάμα της Mazda, με τη χρήση του ως γεννήτρια στην PHEV έκδοση του MX-30, η οποία παρουσιάστηκε στις αρχές του 2023. Πλέον, μένει να αποδειχθεί αν η συγκεκριμένη πατέντα θα εφαρμοστεί σε επόμενο μοντέλο. Γνωρίζουμε ότι το επόμενο MX-5 θα είναι υβριδικό, ενώ σύμφωνα με το δημοσίευμα, οι Ιάπωνες δεν έχουν «εγκαταλείψει» το RX-VISION concept, που παρουσίασαν το 2015 και θα ήθελαν να κατασκευάσουν μια sport «ερμηνεία» του.






ΔΗΜΟΦΙΛΗ





_77761_475679_type13129.jpg)