Η Mazda κατέθεσε μία σειρά από πατέντες για έναν νέο και εξηλεκτρισμένο περιστροφικό κινητήρα, που δίνουν τροφή στις φήμες που θέλουν τους Ιάπωνες να αναβιώνουν πολύ σύντομα την σπορ σειρά τους με το πρόθεμα RX.
Το τελευταίο σπορ μοντέλο της Mazda με περιστροφικό μοτέρ ήταν το RX-8. Αυτό σταμάτησε να κυκλοφορεί το 2012, αλλά έκτοτε η ιαπωνική φίρμα έχει δείξει τις προθέσεις της να αναβιώσει την γκάμα των σπορ μοντέλων της με αυτού του τύπου τους κινητήρες με την παρουσίαση του RX-Vision concept. Ο αντισυμβατικός περιστροφικός κινητήρας αναμένεται να κάνει την επιστροφή του αργότερα φέτος ως range extender σε μερικές εκδόσεις του ηλεκτρικού SUV MX-30.
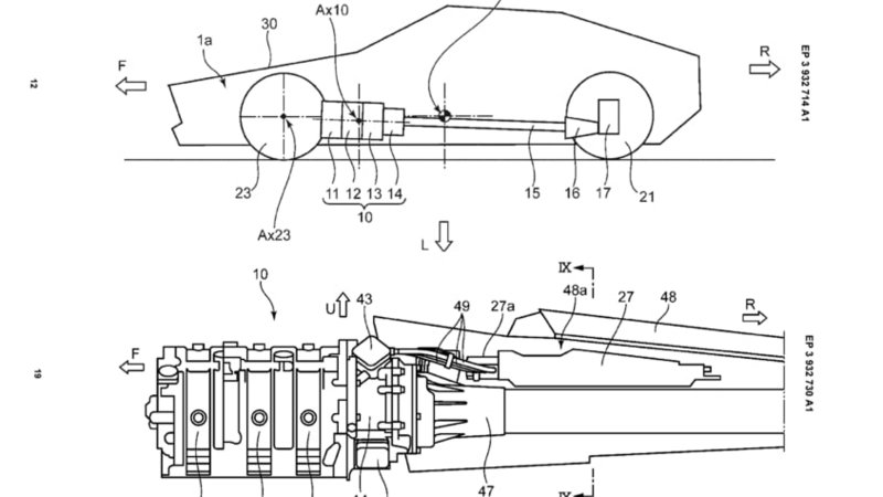
Η διαφορά τώρα είναι ότι οι νέες πατέντες της Mazda δείχνουν έναν νέο Wankel κινητήρα με 3 ρότορες πλέον, έναν περισσότερο από αυτόν του τελευταίου RX-8 με την απόδοση των 228 ίππων. Σε συνδυασμό με το νέο υβριδικό σύστημα της ιαπωνικής μάρκας, αυτό θα μπορούσε να είναι το ισχυρότερο κινητήριο σύνολο μιας νέας γενιάς RX μοντέλων.
Η Mazda δεν έχει επιβεβαιώσει φυσικά τίποτα ακόμα, ούτε και την πλατφόρμα που θα χρησιμοποιήσει για το εν λόγω μοντέλο. Όμως, το φαβορί φαίνεται να είναι η επερχόμενη Large Architecture, η οποία έχει σχεδιαστεί για τα νέα 6κύλινδρα υβριδικά κινητήρια σύνολα της ιαπωνικής μάρκας.
Η ήπια υβριδική 48βολτη τεχνολογία, αλλά και plug-in hybrid σύστημα έχουν ήδη ετοιμαστεί για την συγκεκριμένη αρχιτεκτονική. Ο χώρος δε στο εμπρός μέρος που καταλαμβάνει ο συμβατικός 6κύλινδρος βενζινοκινητήρας του συστήματος δείχνει να είναι υπεραρκετός για να φιλοξενήσει τον νέο Wankel.




ΔΗΜΟΦΙΛΗ





_77761_475679_type13129.jpg)