Η Ford κατέθεσε μια πατέντα για ένα καινούργιο υβριδικό σύστημα το οποίο θα μπορούσε κάλλιστα στο μέλλον να χρησιμοποιηθεί σε μια σειρά μοντέλων της. Από ις κορυφαίες εκδόσεις των pickup της της σειράς F μέχρι και σε μια κορυφαία μελλοντική Mustang με τετρακίνηση.
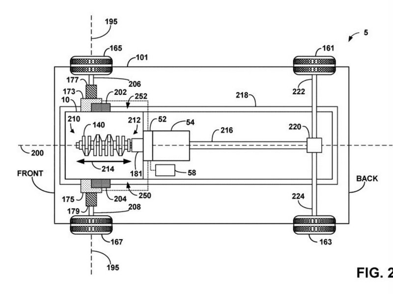
Όλα αυτά ακούγονται μεν περίεργα αλλά δικαιολογούνται από το ότι το υβριδικό αυτό σύστημα αποτελείται από έναν V8, για τον οποίο δεν υπάρχουν περαιτέρω λεπτομέρειες και από δύο ηλεκτρικούς κινητήρες. Με βάση τις πληροφορίες από την πατέντα ο κινητήρας εσωτερικής καύσης κινεί τους πίσω τροχούς ενώ οι δύο ηλεκτροκινητήρες τους εμπρός.
Με το συγκεκριμένο σύστημα σύμφωνα με τη Ford μπορεί να υπάρξει τετρακίνηση και σε αυτοκίνητο που έχουν λιγότερο διαθέσιμο χώρο και δεν θα μπορούσαν να φιλοξενήσουν π.χ. μια τετρακίνηση με κιβώτιο μεταφοράς. Παράλληλα η πατέντα προτείνει πως ο κινητήρας καλό θα είναι να είναι εξοπλισμένες με μονάδας μίζες- γεννήτριας. Αυτό αφενός για να παράγεται ηλεκτρική ενέργεια για τους κινητήρες αλλά και για να περιορίζονται τα φορτία στη μπαταρία ή τις μπαταρίες.
Φυσικά το παραπάνω σύνολο θα μπορούσε κάλλιστα να κινεί την υβριδική Mustang που αναμένεται να παρουσιαστεί του χρόνου. Το πιθανότερο πάντως είναι και από τη στιγμή που η Ford αναφέρει πως η υβριδική Mustang θα έχει ισχύ ανάλογη ενός V8 ο κινητήρας της να είναι ο EcoBoost 2.3 και η συνδυαστική απόδοση να φτάνει τους 405 ίππους. Το υβριδικό σύστημα με τον V8 ίσως να κινεί την καινούργια γενιά του αμερικάνικου muscle car.




ΔΗΜΟΦΙΛΗ





