Σύμφωνα με πρόσφατη αίτηση ευρεσιτεχνίας που κατατέθηκε στο Ευρωπαϊκό Γραφείο Διπλωμάτων Ευρεσιτεχνίας (αριθμός αίτησης: 24197835.2), πρόκειται για μια τολμηρή αλλαγή από τα παραδοσιακά στρογγυλά πιστόνια, με στόχο τη βελτιστοποίηση της απόδοσης και της χωροταξικής εκμετάλλευσης.
Η ιδέα των οβάλ πιστονιών
Η Ferrari δεν ανακάλυψε εκ νέου το τροχό, απλά τον εξέλιξε. Τα οβάλ πιστόνια δεν είναι νέα ιδέα. Η Honda είχε δοκιμάσει πρώτη, αντίστοιχη τεχνολογία στα τέλη της δεκαετίας του 1970 και στις αρχές της δεκαετίας του 1980 με τον κινητήρα της NR500 Grand Prix μοτοσικλέτας.
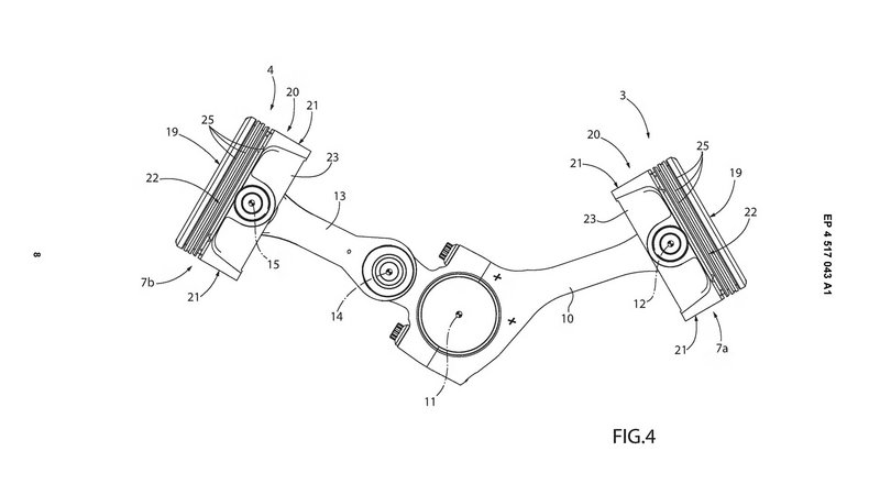
Ωστόσο, η προσέγγιση της Ferrari διαφοροποιείται σημαντικά. Αντί να τοποθετήσει τα πιστόνια κατά μήκος, όπως έκανε η Honda, η Ferrari τα τοποθετεί εγκάρσια ως προς τον στροφαλοφόρο άξονα. Αυτή η διάταξη καθιστά τον κινητήρα πιο συμπαγή, ιδανικό για εφαρμογές σε υπεραυτοκίνητα με περιορισμένο χώρο.
Νέα σχεδίαση μπιελών με σύστημα πολλαπλών συνδέσμων
Ακόμη πιο ενδιαφέρουσα είναι η πρωτοποριακή σχεδίαση της μπιέλας. Η Ferrari έχει αναπτύξει ένα σύστημα πολλαπλών συνδέσμων στο οποίο υπάρχει ενιαία μπιέλα μεταξύ των απέναντι τοποθετημένων πιστονιών.
Η φιλοσοφία αυτής της διάταξης θυμίζει τη μεταβλητή συμπίεση της Nissan, όμως η εφαρμογή σε έναν V12 φέρνει προκλήσεις σε θέματα ισορροπίας και πλευρικών δυνάμεων που αναπτύσσονται.
Πλεονεκτήματα και πιθανές εφαρμογές
Η χρήση των οβάλ πιστονιών προσφέρει πολλαπλά οφέλη. Με τη δυνατότητα τοποθέτησης των κυλίνδρων πιο κοντά μεταξύ τους, το συνολικό μήκος του κινητήρα μειώνεται. Αυτό μεταφράζεται σε μικρότερες διαστάσεις από ότι έχουμε συνηθίσει μέχρι σημερα στους V12, καθιστώντας τους ιδανικούς για τοποθέτηση σε κεντρομήχανα supercars, ειδικά όταν αυτά συνδυάζονται με υβριδικό σύστημα, τοποθετημένο μεταξύ κινητήρα και κιβωτίου ταχυτήτων.
Επιπλέον, η νέα διάταξη έχει ακόμα ένα πλεονέκτημα αφού επιτρέπει τη τοποθέτηση είτε μεγαλύτερων είτε περισσότερων βαλβίδων με άμεσο αποτέλεσμα στην εισαγωγή και την εξαγωγή η οποία μπορεί να βελτιωθεί σημαντικά, αυξάνοντας έτσι την απόδοση και την αποδοτικότητα.
Πρόκλησεις στην παραγωγή
Παρά τα πλεονεκτήματα, η εφαρμογή της τεχνολογίας δεν έρχεται χωρίς δυσκολίες. Η Honda τότε, είχε αντιμετωπίσει σοβαρά προβλήματα στεγανοποίησης με τα οβάλ πιστόνια, λόγω της δυσκολίας κατασκευής των ελαστικών δακτυλίων. Ωστόσο, η εξέλιξη στις τεχνολογίες κατεργασίας και υλικών μπορεί να δώσει στη Ferrari το πλεονέκτημα για να ξεπεράσει αυτά τα εμπόδια. Στην περίπτωση της Ferrari, τα πιστόνια έχουν ορθογώνια μορφή και ημικυκλικές άκρες. Αυτή η επιλογή μειώνει τις προκλήσεις στη μηχανουργική επεξεργασία, κάνοντας την παραγωγή πιο εφικτή σε σύγκριση με την ελλειπτική σχεδίαση που είχε χρησιμοποιήσει η Honda.
Η νέα πατέντα της Ferrari αποδεικνύει τη δέσμευσή της να εξερευνήσει και να επεκτείνει τα όρια της εσωτερικής καύσης. Ενώ άλλοι κατασκευαστές επικεντρώνονται σε λογισμικό και ηλεκτρονικές βελτιώσεις, η Ferrari συνεχίζει να πειραματίζεται με καινοτόμες μηχανολογικές λύσεις. Αν η υλοποίηση των οβάλ πιστονιών αποδειχθεί επιτυχής, η Ferrari μπορεί να προσφέρει έναν πιο συμπαγή, ισχυρό και αποδοτικό V12, έτοιμο να τροφοδοτήσει τόσο supercars όσο και αγωνιστικά «θηρία». Και όπως πάντα, όταν η Ferrari πρωτοπορεί, ολόκληρη η αυτοκινητοβιομηχανία παρακολουθεί με κομμένη την ανάσα.
ΔΙΑΒΑΣΤΕ ΕΠΙΣΗΣ:
Ferrari: Πόσα αυτοκίνητα κατασκευάζονται ημερησίως στο Maranello





ΔΗΜΟΦΙΛΗ





